
-
斗式提升机械
描述:斗式提升机械介绍 斗式提升机械又称斗式提升机,是一些提升设备的总称。所以都是提升机械有很多种分类例如: 一、按牵引构件形式分为:带式、板链式、环链式 ①带式斗提机:具
咨询电话:0373-2682 333
斗式提升机械介绍
斗式提升机械又称斗式提升机,是一些提升设备的总称。所以都是提升机械有很多种分类例如:
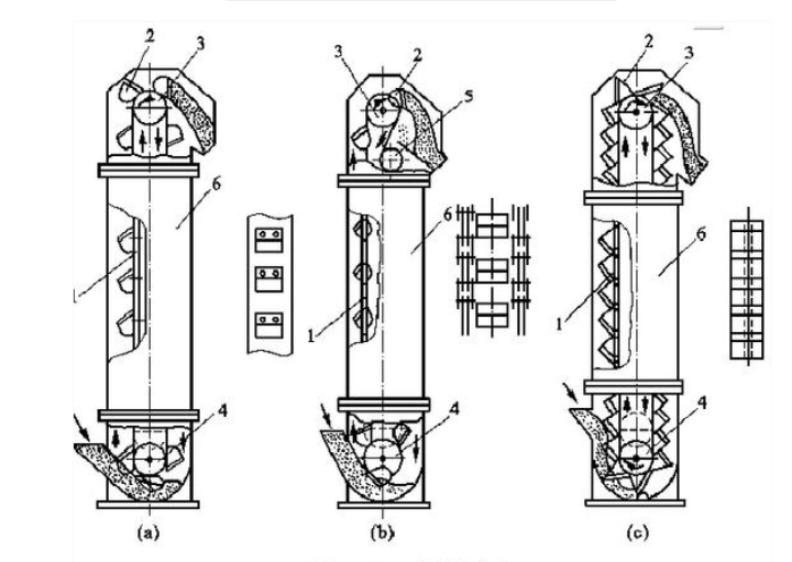
一、按牵引构件形式分为:带式、板链式、环链式
①带式斗提机:具有成本低,质量小,可使用较高速度,作业平稳及噪音小的长处,但强度低,料斗在胶带上的固定处为薄弱环节,所以提高高度不大,一般胶带物料温度不超越60℃,夹钢丝胶带可达80℃,耐热胶带可达120℃。
②板链斗提机:区别于老类型TB型板链斗式提升机,其命名方法选用提高量,而非料斗宽,输送物料温度可达250℃,板链结构比较结实,自重轻适合提高量大的斗提机,但铰接接头磨损大。
③环链斗式提升机:该系列斗式提升机选用锻造环链作为传动部分,具有很强的机械强度,输送物料温度可达250℃,环链与料斗的衔接也结实,链条磨损小,但自严重,适合磨琢性大的物料。
二、按装载方式分为:掏取式、流入式
①掏取式:料斗在物料中掏取装载,用于输送粉末、颗粒、小块状的无磨琢性或半磨琢性散装物料,料斗稀疏布置,料斗运行速度为0.8-2米/秒。
②流入式:物料直接流入料斗内,用于输大块状和磨琢性较大的物料,料斗布置很密,以防止物料在料斗之间散落,料斗运行速度不超过1米/秒。
三、按卸载方式分为:离心式、重力式、混合式
①重力式卸载:h>r1,重力大于离心力,物料将沿斗的内壁移动。适合小块状、密度较大的物料。速度为0.4-0.8米/秒。
②离心式卸载:h < r2,离心力值远大于重力值,料斗内的物料沿着斗的外缘移动并从外缘抛出。适合干燥、流动性较好的粉状、粒状及小块物料,速度为1-3.5米/秒。
③混合式卸载:r2 < h < r1,离心力值与重力值相差不大,物料从料斗内整个物料表面卸出,卸载特性介于离心式与重力式之间,适用于输送潮湿的、流动性差的粉状和粒状物料,速度为0.6-1.6米/秒。
四、按安装方法分为:垂直式和倾斜式
斗提机可以用于垂直或者倾斜时输送粉状、颗粒状及小块状物料,根据现场要求可垂直或倾斜安装
五、按料斗的形式分为:深斗式,浅斗式、鳞板式
①深斗的斗中与料斗后壁夹角大,每个料斗可装载较多的物料,但较难卸空,适用于运送干燥的松散物料。
②浅斗的斗中与料斗后壁的夹角小,每个料斗的装载量小,但容易卸空,适于运送潮湿的和黏性的物料。
③鳞板式料斗适用于大块的、沉重的、灼热的、磨琢性强的以及腐蚀性的物料。
联系方式
销售(售后)热线:0373-2682 333
手机 1583618876(李经理)
邮箱:cndahan@163.com
地 址:河南省新乡市延津县森林公园大门西1000米路北
豫ICP备09002479号-48








